<tt id="sss8s"></tt>
  • <li id="sss8s"></li>
  • <li id="sss8s"></li>
  • <li id="sss8s"></li>
  • <tt id="sss8s"><table id="sss8s"></table></tt>
    <tt id="sss8s"></tt>
  • 網站首頁關于我們新聞資訊產品中心工程案例設備選型客戶留言聯系我們ENGLISH
    >>  離心式
    >>  壓力式
    >>  離心式
    >>  壓力式
    >>  離心式
    >>  壓力式
    >>  離心式
    >>  壓力式
    產品中心 / Products
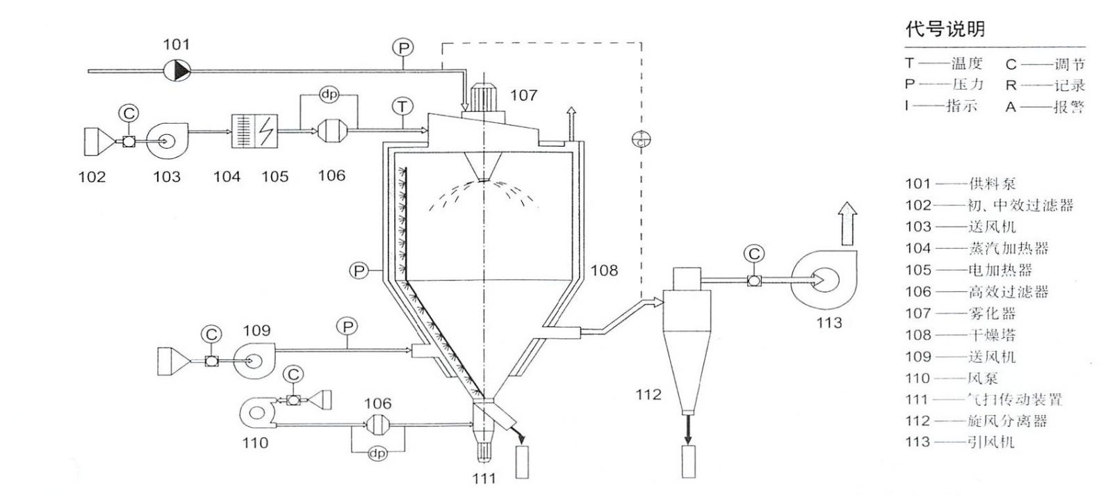
    ZLPG系列中藥提取專用噴霧干燥機

    主要特點:
    ● 采用了三級空氣凈化,使進入燥系統的熱空氣達到萬級凈化要求。采用了氣掃和夾套冷卻雙層保護裝置,降低了產品的粘壁、焦化和吸濕現象,保證產品質量和回收率。
    ● 特有的成品風送系統將干燥成品與系統內的熱濕空氣及時分離,避免了干燥成品產生二次吸濕或結塊的可能性。
    ● 特殊的熱風分配設計解決了中藥干燥過程中易產生粘壁、過熱和吸濕的問題,使干燥過程中液滴的濕球溫度控制在物料的允許范圍內。
    ● 所有焊縫均磨平拋光,所有直角均采用圓弧過度,各項設計和加工均符合GMP。

    應用范圍:
      本系列噴霧干燥機主要用于各種中藥提取、動物提取、植物提取、醫藥加工、食品、保健品、調味品、生物制品和其它熱敏性物料的干燥。

     

    項目/型號 ZLPG-6 ZLPG-12.5 ZLPG-25 ZLPG-100 ZLPG-150 ZLPG-200 ZLPG-300 ZLPG-500
    水份蒸發量(kg/h) 6 12.5 25 100 150 200 300 500
    進風溫度℃ 220
    物料固含量(%) 18-45
    成品含水率(%) 3-5
    加熱方式 蒸汽+電
    裝機電功率(kw) 6 12 18 66 102 132 194 322
    蒸汽耗量(kg/h) 10 20 55 220 330 440 660 110
    收料方式 一級旋風除塵器+ (二級旋風除塵器)+ (濕式除塵器)根據物料需要配置
    塔體直徑(m) φ1.4 φ1.8 φ2.2 φ3.2 φ3.7 φ4.2 φ4.8 φ5.6
    自控儀表 進風溫度,出風溫度,塔內負壓顯示,自動調節溫控儀。

    結構示意圖:

    国产片在线观看免费